188彩票KNKE的进口呼吸阀,Breathing valve,是指既保证贮罐空间在一定压力范围内与大气隔绝、又能在超过或低于此压力范围时与大气相通(呼吸)的一种阀门。其作用是防止贮罐因超压或真空导致破坏,同时可减少贮液的蒸发损失。设置呼吸阀不仅可以减少罐内气体排放,从而降低对大气的污染,而且可使储罐避免因超压而造成破坏或因超真空而导致失稳,对安全和环保均起到一定的促进作用。
呼吸阀主要由阀座、阀罩、保护罩及由真空和压力控制的两组启闭装置组成。启闭装置包括阀瓣、导杆、弹簧、弹簧座及密封环等。当罐内压力达到额定呼出正压时,压力阀瓣开启,罐内蒸气排出;当罐内真空度达到额定吸入负压时,真空阀瓣开启,空气进入。
188彩票KNKE的呼吸阀是安装在石油化工固定储罐上的通气装置,以防止罐内超压或超真空使储罐遭受损坏, 起阻止外界火焰传入,减少罐内液体挥发损耗的作用。产品结构有呼吸型、单呼型、 单吸型、异径型、夹套型(具体参照SX系列呼吸阀)。各种结构形式均可配制阻火器,也可配上所需 的呼、吸端连接管,同时对油品、化工品、食品不同介质的储罐采用不同材质制造,完全满足各类储运系统工艺要求。


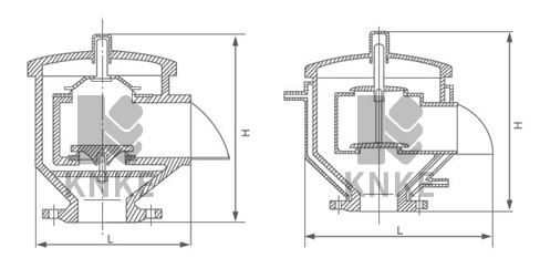
呼吸阀结构图
呼吸阀操作压力
A, -295Pa(-30mmH2O)+355Pa(+36mmH2O)
B, -295Pa(-30mmH20)+980Pa(+100mmH20)
C, -295Pa(-30mmH2O)+1750Pa(+180mmH2O)
D, Customer specified
呼吸阀工作介质
汽油、煤油、柴油、芳烃、空气等,或其他石油化工物料,阻火类别的选用“HGJ21-89”选 行,选II A级或II B级由用户指定。
呼吸阀制造和检验标准
参照“SY7511-87”、“GB5908-86”等标准进行制造和验收。
注:法兰连接采用HG5010-58, PNI.OMPa,也可以根据用户需要,按HGJ、JB、ANSI-B16.5、 JIS等其它标准进行制造。







全国服务热线
