188彩票KNKE的KB-NQG型不锈钢立式磁力泵(简称NQG磁力泵),Stainless steel vertical magnetic pump,结构上综合立式泵占地空间小的优点与磁力泵不泄露的,因而杜绝了石油化工行业中免不了的跑、冒、滴、漏现象,实现无泄漏。
| 产品名称 | 不锈钢立式磁力泵 | 品牌 | 188彩票KNKE |
| 型号 | KB-NQG | 类型 | 磁力泵 |
| 流量 | 2 m3/h~1200 m3/h | ||
| 扬程 | 6m~125m | ||
| 电机功率 | 1.1-55kW | ||
| 电压V | 380 220 | ||
| 使用介质 | 清洁,易燃、易爆、易挥发、有毒、贵重的液体和其它要求无泄漏及介质不允许密封污染的场合。 | ||
| 使用温度 | ≤350°C | ||
| 材质 | 1Cr18Ni9Ti (可定制304.316.316L材质) (可定制蒸汽保温型) | ||
| 使用范围 | 适用领域:环保、石油、化工、食品、生物制药、电力、冶金、航天等行业领域,如炼油厂、乙烯厂、天然气加工厂、各类化工厂、制药厂、核燃料厂、核电厂等。 | ||
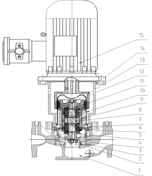
进口不锈钢立式磁力泵产品介绍
采用ISO2858和HG/T2730标准,泵接口尺寸符合替换NSW立式管道泵,通配性好、效率高、振动小。
采用钕铁硼或钐钴永磁材料作内外磁钢,磁效率高、抗高温能力强大。
根据技术要求可以设计成直联和分体式两种,对于结晶介质还可以增加保温装置。
积木式结构非常容易拆装和维修,大大降低了对维护人员的专业要求。
可以根据用户要求配置空转保护器,避免空转引起的损坏问题。
无泄漏解决密封泵的泄露问题,也是代替屏蔽泵的合适产品。
进出口同一个尺寸,可以在管道的随意位置安装。
立式安装,减少了占地位置。
进口不锈钢立式磁力泵材质
泵的过流部件根据使用工况和用户要求可分别采用304、304L、302、321、316、316L、904、钛合金、镍基合金等各类耐腐蚀材料。如有特殊需求,本单位可根据工况进行设计制造。
进口不锈钢立式磁力泵结构与材质


















全国服务热线
